新媒体时代我国学术期刊的数字化出版研究*
付志华,付晓静,曾子璇

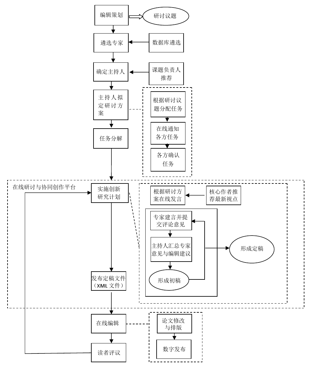
图1 基于协同研究与协同创作的学术期刊出版平台的模式构建图