PubMed Central引用数据在中文科技期刊平台展示的实现
阮继,王玥,刘谦,张丽仪

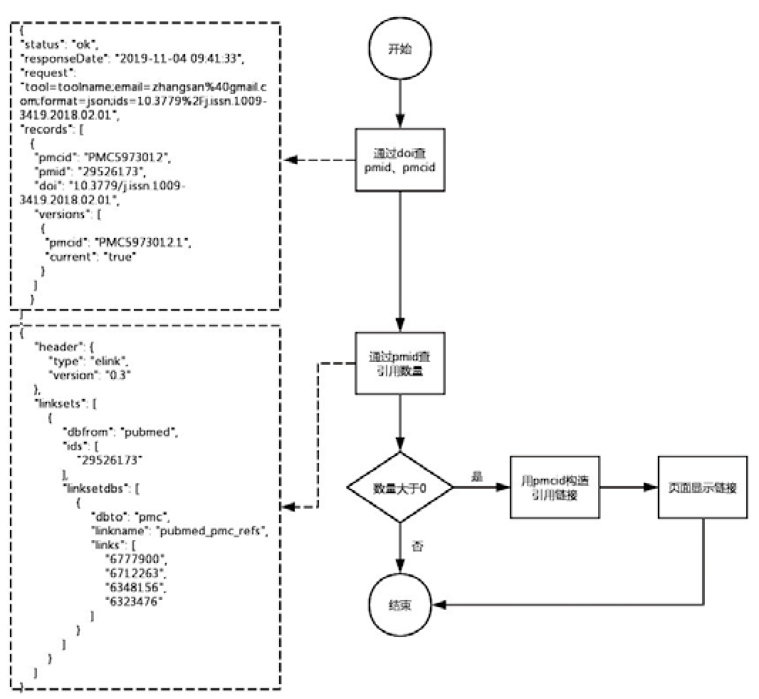
图2 查询PMC引用数据程序处理流程