*" /> *" /> 我国出版智库知识服务创新模式及其保障机制研究<sup><xref ref-type="fn" rid="note1">*</xref></sup>
Please wait a minute...
科技与出版  2020, Vol. 39 Issue (11): 122-127    DOI: 10.16510/j.cnki.kjycb.20201116.011
学术探索
我国出版智库知识服务创新模式及其保障机制研究*
刘春艳,廉强
黑龙江大学信息管理学院,150080,哈尔滨
全文: HTML    PDF(2036 KB)  
输出: BibTeX | EndNote (RIS)      
摘要: 

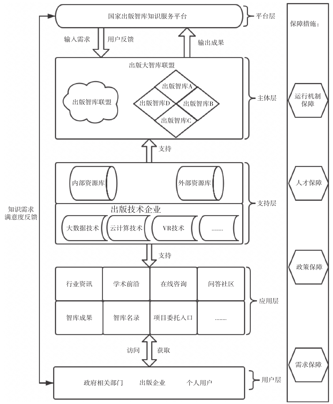
通过调研出版智库知识服务各类用户的知识需求类型、知识服务获取途径,以及对出版智库现有知识服务和途径的满意度,本文发现,我国出版智库知识服务存在出版智库影响力不足、知识服务内容和方式有限、出版智库网站平台建设滞后、知识服务不能完全有效满足用户知识需求等问题。基于此,本文构建了包含国家出版智库知识服务平台、出版智库知识服务主体、出版智库支持平台、出版智库知识服务内容、出版智库知识服务对象五大功能模块的高度协同、共享集成的出版智库知识服务创新模式;为保障该创新模式顺利运转,本文从运行、人才、政策、需求四方面提出有效的保障机制。

关键词 出版智库知识服务创新模式保障机制    
出版日期: 2020-12-02
服务
把本文推荐给朋友 *”的文章,特向您推荐。请打开下面的网址:http://kjycb.tsinghuajournals.com/CN/abstract/abstract155689.shtml" name="neirong"> *">
加入引用管理器
E-mail Alert
RSS
作者相关文章
刘春艳
廉强

引用本文:

刘春艳,廉强. 我国出版智库知识服务创新模式及其保障机制研究*[J]. 科技与出版, 2020, 39(11): 122-127.

链接本文:

http://kjycb.tsinghuajournals.com/CN/Y2020/V39/I11/122

图1  出版智库知识服务创新模式整体框架
[1] 廉强,刘春艳. 基于SWOT分析的我国数字出版智库建设战略研究[J]. 智库理论与实践,2018(5):34-40.
[2] 关于加快新闻出版行业智库建设的指导意见[EB/OL].(2018-03-20)[2020-05-12]. .
[3] 吴娣妹. 面向高校智库的知识服务模式研究[D]. 安徽:安徽财经大学,2018.
[4] 张新新. 数字出版高端智库建构综述[J]. 科技与出版,2017(1):17-23.
[5] 王艳. 以出版智库建设推动出版业高质量发展[J]. 出版广角,2018(11):22-25.
[6] 吴霞,冷伏海,李书宁. 科技情报机构情报成果的知识产权权属分析与管理[J]. 图书与情报,2011(3):23-26,48.
[7] 马小琪. 图书开放获取权益分享机制研究溯源与现状分析[J]. 图书情报工作,2019(5):77-83.
[8] 倪薇钧. 新闻出版智库人才建设机制探讨[J]. 科技与出版,2020(6):28-33.
[9] 朱洪涛,牛晓宏. 图书开放获取的国内外研究热点与现状分析[J]. 图书馆学研究,2020(17):9-15.
[10] 孙瑞英,贾旭楠. 高校智库信息生态链与生态圈构建研究[J]. 现代情报,2019(8):37-44.
[11] 牛晓宏,朱洪涛. 用户使用图书开放获取资源意愿的影响因素研究[J]. 情报理论与实践,2020(10):130-136.
[1] 张新新. 数字出版调控与市场的二元互动——“十三五”时期数字出版述评与盘点[J]. 科技与出版, 2020, 39(9): 43-56.
[2] 朱亮亮,佟雪萌. 中国思想史专题数据库产品开发探析[J]. 科技与出版, 2020, 39(9): 95-98.
[3] 聂静. 通证经济视角下学术出版知识服务绩效提升研究*[J]. 科技与出版, 2020, 39(7): 136-140.
[4] 倪薇钧. 新闻出版智库人才建设机制探讨*[J]. 科技与出版, 2020, 39(6): 28-33.
[5] 陈晓堂. 媒体融合背景下学术期刊知识服务体系构建*[J]. 科技与出版, 2020, 39(6): 55-60.
[6] 刘坚. 大学出版社学术出版知识服务转型研究1[J]. 科技与出版, 2020, 39(5): 126-130.
[7] 王圆圆. 从知识出版到知识服务*[J]. 科技与出版, 2020, 39(4): 68-72.
[8] 赵树旺. 疫情背景下出版业知识服务的特色、问题与应对*[J]. 科技与出版, 2020, 39(4): 11-15.
[9] 付江. 稳中求进——2019年国内社科市场期刊动态盘点[J]. 科技与出版, 2020, 39(03): 74-80.
[10] 张立, 吴素平, 周丹. 国内外知识服务相关概念追踪与辨析[J]. 科技与出版, 2020, 39(02): 5-12.
[11] 黄先蓉,张窈. 我国出版社知识服务转型的内在变化与传统版权制度冲突的思考*[J]. 科技与出版, 2020, 39(02): 30-37.
[12] 袁小群,蒋欢. 知识服务中的著作权问题研究*[J]. 科技与出版, 2020, 39(02): 91-95.
[13] 彭天赦. 专业出版社融合发展的思考与实践[J]. 科技与出版, 2019, 38(7): 72-75.
[14] 李璇,陈昇. 体育全媒体出版产品的构建路径[J]. 科技与出版, 2019, 38(7): 94-97.
[15] 李永强,刘莉. 新时代高校出版单位主题出版的功能定位及策略研究*[J]. 科技与出版, 2019, 38(6): 50-55.