Please wait a minute...
科技与出版  2020, Vol. 39 Issue (03): 125-128    
编辑实务
PubMed Central引用数据在中文科技期刊平台展示的实现
阮继1,),王玥2),刘谦2),张丽仪1)
1)中山大学肿瘤防治中心《癌症》杂志编辑部,510060,广州
2)天津医科大学总医院《中国肺癌杂志》编辑部,300020,天津
全文: HTML    PDF(1891 KB)  
输出: BibTeX | EndNote (RIS)      
摘要: 

PubMed Central是目前国际权威的生物医学与生命科学文献全文数据库,于2018年7月全文收录了第一本中文期刊,开启了我国生物医学期刊国际化探索的新尝试。本文介绍了调用PMC API查询论文在PMC中的引用数据,并在期刊网站进行展示的方法,用户可直接链接到PMC平台查看施引文献的详细信息并免费阅读全文。期刊出版平台发布论文的PMC引用数据,极大方便了出版者、读者和作者及时掌握论文被引情况,跟踪学科发展动态,评价期刊及论文的影响力。中文科技期刊网络出版平台与国际通用权威的平台互连,进一步提高了期刊平台的服务水平,扩大了中文科技期刊的传播推广力度和国际影响力。

关键词 PubMed Central中文医学期刊引用统计网络出版平台    
出版日期: 2020-04-22
通讯作者: 阮继   

引用本文:

阮继,王玥,刘谦,张丽仪. PubMed Central引用数据在中文科技期刊平台展示的实现[J]. 科技与出版, 2020, 39(03): 125-128.

链接本文:

http://kjycb.tsinghuajournals.com/CN/Y2020/V39/I03/125

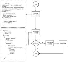
图1  施引文献ID列表
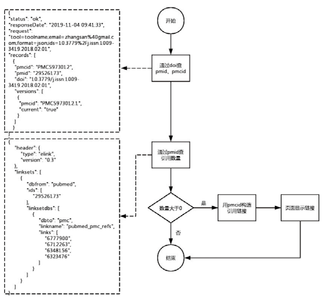
图2  查询PMC引用数据程序处理流程
[1] 司徒俊峰,罗春荣,谢莉. 国外开放存取期刊平台建设与服务研究[J]. 情报杂志,2013,32(7):165-170.
[2] 邹强,袁庆,康林,等. PubMed Central的数字化出版简介[J]. 中国科技期刊研究,2014,25(2):240-242.
[3] National Center for Biotechnology Information, U.S. National Library of Medicine. Developer Resources[EB/OL]. [2019-11-01]. .
[4] 倪明,闫雷,陆瑶,等.基于WoS和CSCD的肿瘤类高被引文章分析[J].中国科技期刊研究,2015,26(12):1311-1318.
[5] 杨郁霞. 我国高校科技期刊网站文献服务功能探究[J]. 中国科技期刊研究,2018,29(7):671-675.
[6] Elsevier B. V. Elsevier developers : API interface specification [EB/OL]. [2019-10-26]. .
[7] PLOS. Public Library of Science (PLOS): Cited [EB/OL]. [2019-10-28]. .
[8] 阮继,王玥,尤嘉琮,等. CSCD引用数据展示与引用提醒的功能实现[J]. 中国科技期刊研究,2018,29(4):381-386.
[9] National Center for Biotechnology Information, U.S. National Library of Medicine. ID Converter API[EB/OL]. [2019-11-03]. .
[10] National Center for Biotechnology Information, U.S. National Library of Medicine. Find articles that cite a given article, or that a given article cites[EB/OL]. [2019-11-04]. .
[11] National Center for Biotechnology Information, U.S. National Library of Medicine. Get article metadata[EB/OL]. [2019-11-06]. .
[12] 周白瑜,王玥,刘谦,等.中文医学科技期刊申请PubMed Central数据文件标准与技术实现[J]. 科技与出版,2019,38(5):112-116.
[13] 阮继,王玥,尤嘉琮,等. PubMed多语种摘要在中文医学科技期刊中的应用[J]. 天津科技,2018,45(2):89-91.
[1] 周白瑜,王玥,刘谦,谭潇,石婧. 中文医学科技期刊申请PubMed Central数据文件标准与技术实现[J]. 科技与出版, 2019, 38(05): 112-116.
[2] 赵俊;李海亮;陈灿华;彭超群;王海东. 网络出版平台对高校学术期刊发展的影响——以《中南大学学报》网站为例[J]. 科技与出版, 2013, 32(1): 61-65.