*" /> *" /> 学术期刊栏目数据库的建设与栏目评价<sup><xref ref-type="fn" rid="note1">*</xref></sup>
Please wait a minute...
科技与出版  2019, Vol. 38 Issue (12): 113-118    
研究与教育
学术期刊栏目数据库的建设与栏目评价*
臧莉娟1,)2),唐振贵2),卢芳3)
1)南京理工大学学报(社会科学版)编辑部,210094,南京
2)南京大学信息管理学院,210023,南京
3)南京理工大学科学技术研究院,210094,南京
全文: HTML    PDF(1707 KB)  
输出: BibTeX | EndNote (RIS)      
摘要: 

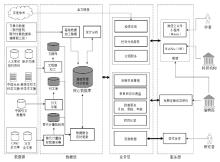
学术期刊栏目是期刊的基本单元,但长期被外界忽略,因此倡导建立以栏目为主体的人文社科学术期刊栏目数据库是必要的。借助栏目数据库开展栏目比较和栏目评价,有助于开展栏目和期刊的诊断性评价、过程性评价,并以仪表盘的方式实现栏目数据的可视化,帮助期刊发现栏目发展中的问题,从而促进期刊发展。同时栏目数据库对于学者、科研机构、研究者也有一定价值。

关键词 学术期刊栏目数据库栏目评价过程性评价诊断性评价    
出版日期: 2019-12-26
服务
把本文推荐给朋友 *”的文章,特向您推荐。请打开下面的网址:http://kjycb.tsinghuajournals.com/CN/abstract/abstract154122.shtml" name="neirong"> *">
加入引用管理器
E-mail Alert
RSS
作者相关文章
臧莉娟
唐振贵
卢芳

引用本文:

臧莉娟,唐振贵,卢芳. 学术期刊栏目数据库的建设与栏目评价*[J]. 科技与出版, 2019, 38(12): 113-118.

链接本文:

http://kjycb.tsinghuajournals.com/CN/Y2019/V38/I12/113

图1  栏目数据库架构图
[1] 姚申. 高校人文社会科学学报改革与特色栏目建设[J]. 云南师范大学学报(哲学社会科学版),2009,41(5):85.
[2] 刘传红. 大学学报栏目建设“十要”[J]. 中国地质大学学报(社会科学版),2013,13(1):137.
[3] 王文军. 中国学术文摘:现状与展望:以“三大文摘”为中心的实证研究[J]. 清华大学学报(哲学社会科学版),2013,28(6):6,9.
[4] 江波,刘忠玲,罗雯瑶. 我国近三年教育研究热点与趋势:基于对2011—2013年四大文摘的文献计量分析[J]. 苏州大学学报(教育科学版),2014,2(1):55.
[5] 臧莉娟,唐振贵.中国学术期刊栏目评价研究:基于引文分析视角[J]. 重庆大学学报(社会科学版),2019,25(2):100-114.
[6] 臧莉娟,唐振贵.非核心期刊教育部名栏发展现状及影响力研究[J]. 出版发行研究2019,35(5):31-39.
[1] 胡正君,曾文,刘颖. 大数据时代中文学术期刊开放数据的思考*[J]. 科技与出版, 2019, 38(8): 115-119.
[2] 丛挺,赵婷婷. 基于微信公众号的学术期刊移动化传播研究*[J]. 科技与出版, 2019, 38(7): 80-85.
[3] 张艳萍. 学术类微信公众号运营探讨*[J]. 科技与出版, 2019, 38(7): 133-138.
[4] 刘平. 学术期刊服务智库建设的路径探析*[J]. 科技与出版, 2019, 38(7): 143-147.
[5] 袁阳,肖洪. 学术期刊二次数字化转型出版新模式分析[J]. 科技与出版, 2019, 38(7): 31-37.
[6] 张宏伟,宋菲菲,陶红燕,宋青. 基于世界知识大数据的学术期刊出版、传播与利用[J]. 科技与出版, 2019, 38(6): 79-83.
[7] 张伟伟, 王磊, 赵文义. “一带一路”倡议助力中国学术期刊国际传播*[J]. 科技与出版, 2019, 38(6): 18-22.
[8] 许志敏,杨蕾歆. 我国学术期刊国际传播渠道现状、问题及对策*[J]. 科技与出版, 2019, 38(6): 60-65.
[9] 黄江华. 新时代学术期刊编辑素养的“六维”构建*[J]. 科技与出版, 2019, 38(6): 128-131.
[10] 张月红,叶青. 没有诚信,何有尊严?[J]. 科技与出版, 2019, 38(4): 36-41.
[11] 吴湘华,邓履翔. 中国高校学术期刊发展探索[J]. 科技与出版, 2019, 38(4): 89-93.
[12] 孙艳玲. 学术期刊投稿要警惕的三类欺诈行为[J]. 科技与出版, 2019, 38(4): 111-114.
[13] 刘仲翔. 高质量发展与学术期刊转型:2018年国内社科学术期刊动态盘点[J]. 科技与出版, 2019, 38(3): 33-39.
[14] 李佳飞. 法学学术期刊出版论文格式统一的困境与建议[J]. 科技与出版, 2019, 38(3): 108-114.
[15] 王磊,刘佼,马勇,张伟伟,芮海田. 学术期刊微信公众平台的运营策略*[J]. 科技与出版, 2019, 38(3): 40-46.