*" /> *" /> 新媒体时代我国学术期刊的数字化出版研究<sup><xref ref-type="fn" rid="note1">*</xref></sup>
Please wait a minute...
科技与出版  2020, Vol. 39 Issue (02): 60-65    
融媒之光
新媒体时代我国学术期刊的数字化出版研究*
付志华,付晓静,曾子璇
武汉体育学院新闻传播学院,430079,武汉
全文: HTML    PDF(1623 KB)  
输出: BibTeX | EndNote (RIS)      
摘要: 

当下,我国学术期刊的出版方式急待转型,数字化出版已是大势所趋。然而,囿于长期形成的办刊理念与人才层面的制约,短期内要实现我国学术期刊的"华丽蜕变"绝非易事。研究认为,作为有远见卓识的期刊工作者,应积极拓展出版形式,实现学术期刊出版渠道的多元化;有效整合资源,尝试学术期刊的集约化出版;依托有关学术机构,致力于打造学术期刊的数字化学术平台;创建基于协同研究与协同创作的学术期刊数字化出版平台;巧动脑筋,设法打造学术期刊以"知识服务"为旨趣的智能终端;追求新颖,丰富数字化学术平台的呈现形态;致力塑造学术期刊的"微品牌",创建数字化的学术创新版块;在深度考量、充分运用数字技术、智能技术的基础上,勾勒出我国学术期刊数字化出版的未来走向。

关键词 新媒体时代学术期刊数字化出版数字化学术平台    
出版日期: 2020-03-30
服务
把本文推荐给朋友 *”的文章,特向您推荐。请打开下面的网址:http://kjycb.tsinghuajournals.com/CN/abstract/abstract154373.shtml" name="neirong"> *">
加入引用管理器
E-mail Alert
RSS
作者相关文章
付志华
付晓静
曾子璇

引用本文:

付志华,付晓静,曾子璇. 新媒体时代我国学术期刊的数字化出版研究*[J]. 科技与出版, 2020, 39(02): 60-65.

链接本文:

http://kjycb.tsinghuajournals.com/CN/Y2020/V39/I02/60

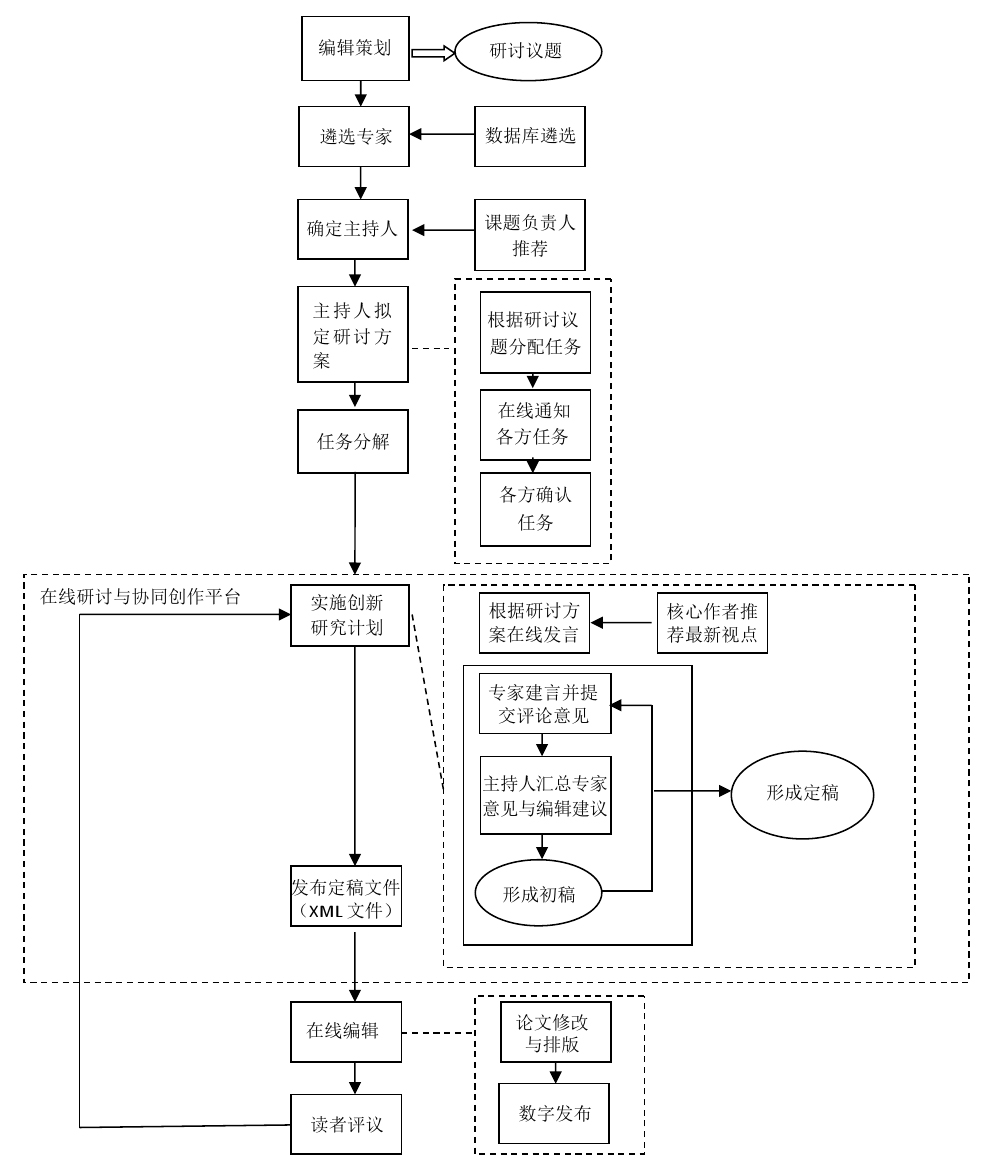
图1  基于协同研究与协同创作的学术期刊出版平台的模式构建图
[1] 张晓雪. 我国学术期刊数字出版转型的挑战与思考[J]. 中国出版,2015(13):47-50.
[2] 门爱华. 全媒体时代高校学术期刊转型发展的研究与探索[J]. 赤峰学院学报(汉文哲学社会科学版),2019,40(7):76-79.
[3] 王明亮,刘学东,张宏伟,等. 基于供需融合理念打造学术期刊转型升级的全媒体经营业态[J]. 编辑学报,2019,31(2):194-199.
[4] 伯灵. 融媒体时代学术期刊转型发展研究[J]. 沈阳工程学院学报(社会科学版),2019,15(3):399-402.
[5] 高欣. 学术期刊数字化怎样摆脱束缚[N]. 中国新闻出版广电报,2019-08-13(008).
[6] 赵文义. 学术期刊数字出版集约化研究[J]. 出版发行研究,2014(11):48-51.
[7] 秦钠,翁春敏. 高校学术期刊集约化管理探析:以上海大学期刊社集约化建设为例[J]. 出版发行研究,2015(1):9-13.
[8] 孙敬诚. 学术期刊改制后应重视的几个办刊理念[J]. 媒体时代,2015(10):183.
[9] 付志华. 体育类核心期刊力创精品期刊的策略探讨[J]. 南京体育学院学报(社会科学版),2010,24(1):100-102.
[1] 赵强,杨雅婕. 高校学术期刊"联合策划":内涵、创新和问题*[J]. 科技与出版, 2020, 39(01): 61-65.
[2] 胡正君,曾文,刘颖. 大数据时代中文学术期刊开放数据的思考*[J]. 科技与出版, 2019, 38(8): 115-119.
[3] 丛挺,赵婷婷. 基于微信公众号的学术期刊移动化传播研究*[J]. 科技与出版, 2019, 38(7): 80-85.
[4] 张艳萍. 学术类微信公众号运营探讨*[J]. 科技与出版, 2019, 38(7): 133-138.
[5] 刘平. 学术期刊服务智库建设的路径探析*[J]. 科技与出版, 2019, 38(7): 143-147.
[6] 袁阳,肖洪. 学术期刊二次数字化转型出版新模式分析[J]. 科技与出版, 2019, 38(7): 31-37.
[7] 张宏伟,宋菲菲,陶红燕,宋青. 基于世界知识大数据的学术期刊出版、传播与利用[J]. 科技与出版, 2019, 38(6): 79-83.
[8] 张伟伟, 王磊, 赵文义. “一带一路”倡议助力中国学术期刊国际传播*[J]. 科技与出版, 2019, 38(6): 18-22.
[9] 许志敏,杨蕾歆. 我国学术期刊国际传播渠道现状、问题及对策*[J]. 科技与出版, 2019, 38(6): 60-65.
[10] 黄江华. 新时代学术期刊编辑素养的“六维”构建*[J]. 科技与出版, 2019, 38(6): 128-131.
[11] 张月红,叶青. 没有诚信,何有尊严?[J]. 科技与出版, 2019, 38(4): 36-41.
[12] 吴湘华,邓履翔. 中国高校学术期刊发展探索[J]. 科技与出版, 2019, 38(4): 89-93.
[13] 孙艳玲. 学术期刊投稿要警惕的三类欺诈行为[J]. 科技与出版, 2019, 38(4): 111-114.
[14] 王磊,刘佼,马勇,张伟伟,芮海田. 学术期刊微信公众平台的运营策略*[J]. 科技与出版, 2019, 38(3): 40-46.
[15] 刘仲翔. 高质量发展与学术期刊转型:2018年国内社科学术期刊动态盘点[J]. 科技与出版, 2019, 38(3): 33-39.