我国出版智库知识服务创新模式及其保障机制研究*
关键词:
本文引用格式
刘春艳, 廉强.
1 前言
2015年1月,中共中央办公厅、国务院办公厅印发《关于加强中国特色新型智库建设的意见》,智库建设如火如荼,出版智库也开始建立[1]。国家在关注出版智库建设的同时,也开始关注提升出版智库知识服务能力。2018年3月20日,原国家新闻出版广电总局印发的《关于加快新闻出版行业智库建设的指导意见》提出,提高专业智库服务能力,需要在知识服务上下功夫[2]。可见,提高知识服务水平,构建科学的知识服务模式至关重要。所谓知识服务模式,是指在知识服务的理念下,根据其服务能力,将知识服务的产品和项目、服务人员的技术和经验、知识服务的方式和方法,以及合理化流程等要素有效综合,最终形成一种有规律的、可以重复借鉴的、有价值的框架结构或固定范式[3]。
学界对出版智库知识服务的相关研究十分有限。张新新指出,深入开展知识服务是目前数字出版高端智库研究重心之一,要切实将知识服务由概念推动至产业发展的层面,切实将知识服务变成出版业转型升级的行动纲领和重要里程碑[4]。王艳认为,出版智库知识服务要体现定制的特色,以“定制”特色谋“订单”可能;知识服务过程中,出版智库要主动积累知识资源,建立知识服务的“项目库”,推动出版产业高质量发展[5]。然而,较少有学者探究出版智库知识服务模式。本文旨在通过调研出版智库知识服务用户的知识需求,发现我国出版智库知识服务存在的主要问题。出版智库提升知识服务水平,同时为用户提供更优质有效的服务,创新出版智库知识服务模式十分必要。因此,本文从平台层、主体层、支持层、应用层、用户层入手,构建高度协同共享的出版智库知识服务创新模式,并提出模式高效运行的保障机制,以期帮助我国出版智库更好地为用户提供知识服务,推进出版行业更好更快发展。
2 我国出版智库知识服务用户需求调研分析
2.1 调研设计
本文主要采用问卷调查和电话访谈相结合的方式,通过邮箱、微信向用户发放调查问卷,同时通过电话对用户进行访谈。具体用户包括:各级新闻出版主管部门,如全国各省/市委宣传部;出版企业,如江苏凤凰出版传媒集团、社科教育出版社等;个人,主要是出版领域从业人员、研究人员。调研共获得173份样本,有效样本161份,有效回收率93%。其中,政府部门有效样本23份,企业有效样本29份,个人有效样本109份。
2.2 我国出版智库知识服务存在的主要问题
第一,出版智库影响力不足。通过调研用户关于出版智库的认知发现,69%的政府用户“比较了解”出版智库,这与出版智库以“影响政府决策为研究目标,为政府决策出谋划策”为根本任务的特点相符合。74%的企业用户集中在“一般”和“比较了解”,77%的个人用户集中在“一般及以下”,这说明出版智库在出版企业中虽有一定的影响力,但还有很大的进步空间。概言之,我国出版智库快速发展不过寥寥几年,出版智库在政府、企业的决策中参与度有限,其社会影响力还远远不足。因此,出版智库只有不断改进知识服务水平,才能吸引用户主动获取知识服务,进而获得较高的社会声誉与社会影响力。
第二,出版智库知识服务内容和方式有限。调研发现,目前出版智库提供的知识服务主要有行业资讯、智库成果、培训、专家咨询、行业分析/追踪、统计数据、会议/论坛举办、项目策划/监理等,多是信息资讯类的显性知识服务,缺少更有价值的隐性知识服务,难以满足许多用户急需的(诸如专家知识、技术知识等)的需求。同时,出版智库多自拨经费成立科研项目,大多存在资金不足的问题,由此,独立开展面向出版行业发展的具有战略性、前瞻性的研究还比较少,知识服务方式也较为被动,这些问题需要尽快解决。
第三,出版智库网站平台建设滞后。调研结果显示,政府部门和企业用户获取出版智库知识服务的途径集中于个性化定制服务,因为它们的知识需求一般属于高水平智力成果,需要出版智库根据用户自身实际需求提供有针对性的、个性化的知识服务,同时政府部门和企业用户的资金实力可以负担出版智库个性化知识服务的费用。相比之下,个人用户知识需求复杂多样,约有50%的个人用户更喜欢从出版智库网站获取免费资源。此外,54%的政府部门、79%的出版企业和73%的个人用户对目前出版智库知识服务获取途径的满意度为“一般”或“不满意”。原因主要在于,目前我国出版智库网站平台建设滞后、智库产品更新慢、网站处于较为封闭的状态,这些不足导致智库产品难以广泛地传播到大众视野,广大用户无法获得更好的服务体验。笔者认为,亟须构建立足中国、放眼世界的国际化出版智库网站平台。
第四,出版智库知识服务不能完全有效满足所有用户的知识需求。目前,出版智库间的协同共享不够,存在各出版智库合作少、不深入的问题,这导致出版智库不仅资源流动和研究活力不够,知识服务水平也相对有限。调研发现,就政府部门而言,62%的政府部门对出版智库知识服务的评价为“满足”,这主要是政府部门与出版智库间的紧密关系造成的,出版智库多采用定制化服务手段为政府部门资政献言、辅助决策,这导致政府需求与智库产品匹配度较高,政府需求得到有效满足。但是,出版企业和个人用户的满意度较政府部门而言,相差较多。具体来说,超过一半的出版企业和个人用户认为,出版智库知识服务“一般”,或“可以满足”自身的知识需求,甚至有20%多的企业和个人用户认为其无法满足自身的知识需求,这就需要出版智库更加重视为出版企业和个人用户提供更好的知识服务。
3 我国出版智库知识服务创新模式构建
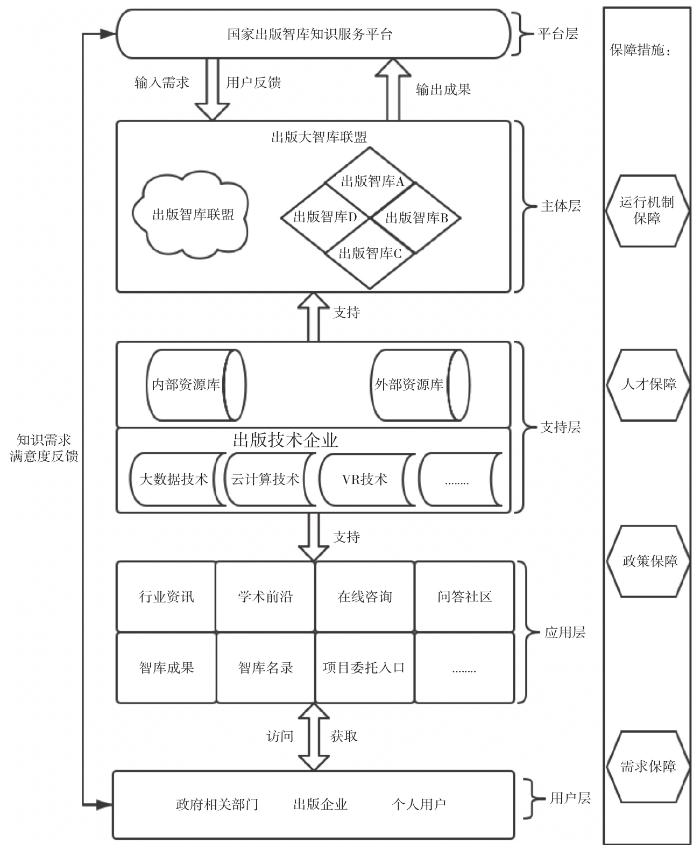
本文基于出版智库知识服务用户知识需求以及我国出版智库知识服务存在的主要问题,构建了高度协同共享的出版智库知识服务创新模式,整体框架如图1所示。
图1
3.1 平台层:国家出版智库知识服务平台
国家出版智库知识服务平台的服务对象包括所有出版智库和用户,它是用户获取知识服务和出版智库提供知识服务的载体和途径,是连接出版智库与用户的纽带。具体来说,用户注册访问国家出版智库知识服务平台,选择合适的应用功能来满足自身的知识需求;平台通过搜索引擎等技术,在平台内外部资源库中按照用户需求进行资源搜索与匹配,并将搜索结果反馈给用户,由用户决定是否付费获取相应资源,付费后平台提供知识资源,随后用户对此次知识服务作出满意度评价。
3.2 主体层:出版智库知识服务主体
出版智库知识服务主体主要有两个:一是出版大智库联盟中,通过项目竞标或由用户指定获得项目的项目研究主体,这一主体可能是单一出版智库或出版智库联盟,也可能是多个出版智库或出版智库联盟合作研究;二是出版大智库联盟中其他成员,主要包括其他出版智库和出版智库联盟、高校和出版技术企业等。
3.3 支持层:出版智库支持平台
主要包括知识资源支持和技术支持。知识资源分为:内部知识资源,即出版智库自身构建的知识资源库,如智库成果库、专题知识资源库等;外部知识资源主要是国家知识资源服务中心的出版知识资源和出版企业依托自身优势构建的特色知识资源库等。技术支持,主要由出版技术服务企业根据出版智库研究需求提供,以提高出版智库研究的科学性、前瞻性。此外,平台通过大数据等技术将在线专家咨询、问答社区内形成的隐性知识等知识资源整合起来,以及出版智库的研究成果补充到支持层相应知识资源库中,提升平台知识服务能力。
3.4 应用层:出版智库知识服务内容
应用层是用户访问平台获取知识服务直接操作的端口,用户通过访问应用层的各个功能,获得精准、全面、高质量的知识服务。应用层共分为五大模块,分别是智库动态、行业动态、出版智库、在线服务、合作。智库动态包含会议、论坛、科研动态和专家观点四个子应用,主要满足用户对出版智库研究活动的获知需求。行业动态包含行业资讯、行业热点分析、行业预测三个子应用,主要满足用户对出版行业的知识需求。出版智库包含智库名录、智库成果、智库专家、数据库四个子应用,主要满足用户对出版智库相关信息和成果的知识需求。在线服务包含问答社区、在线专家咨询、在线培训三个子应用,主要满足个人用户的个性化知识需求。合作包含科研项目、培训、项目策划/监理、其他四个子应用,主要满足机构用户的个性化知识服务。
3.5 用户层:出版智库知识服务对象
用户层包含出版智库知识服务所有用户,即机构用户和个人用户。用户层主要和平台层进行交互,包含输入和输出两个过程。输入过程是用户通过平台网站或者移动终端App访问国家出版智库知识服务平台获取出版智库提供的知识服务,用户输入知识需求,并在获得服务后向平台反馈服务满意度评价。此外,用户还可以在问答社区中利用自己的知识储备解答他人提出的问题。输出过程主要是国家出版智库知识服务平台根据用户输入的需求向用户提供相应知识服务,如向用户输出智库成果等知识资源、利用大数据技术分析预测用户知识需求类型特点,向用户终端推送相关知识资源链接、提高对用户知识服务的主动性,即时返还用户在问答社区中向其他用户提供知识服务的获利、提高用户隐性知识资源的流动。
综上所述,基于该创新模式,在出版智库提供知识服务的过程中,个人用户可以通过互联网访问国家出版智库知识服务平台,根据自身需求访问不同应用功能,付费获得所需内容;政府部门、出版企业可通过平台进行项目委托,平台在收到项目委托意向后进行项目公示,各知识服务主体结合自身情况通过竞标方式获得项目,或用户指定某知识服务主体。知识服务主体在获得项目后与用户交流,细化用户知识需求,支持层为知识服务主体提供资源、技术支持,最终智库成果通过平台提供给用户,并与用户达成协议,将智库成果放入平台成果库,供他人付费使用。用户在使用智库成果后,可以在平台对此次知识服务进行评价反馈,这一定程度上也会提升出版智库知识服务的水平和影响力。
出版智库在提供知识服务过程中会遇到各种各样的问题,为保障出版智库知识服务创新模式各个过程的顺利进行,相应的保障机制必不可少。
4 我国出版智库知识服务创新模式的保障机制研究
4.1 运行保障机制
规范利益分配机制。本文构建的出版智库知识服务创新模式中,知识资源的开放获取与共享贯穿整个出版智库知识服务过程,必须规范各单位利益分配机制,保证分配公正,促进出版大智库联盟各成员单位和谐相处、通力合作。因此,一要合理分配用户访问国家出版智库知识服务平台付费获取智库成果等知识资源的收入,根据智库成果的知识产权权属[6]返还收入。二要根据各智库通过平台获利的情况制定平台收费标准,按照标准从各出版智库知识资源收入中拨取一定比例资金支持国家出版智库知识服务平台的运行和维护。三要根据贡献制定标准进行合理分配,即项目结项时获得的利益应与各合作与支持单位共享。规范利益分配机制,使各项目研究参与单位有利可得,同时可以提高各单位合作的积极性,促进智力和资源的流通。[7]
规范项目获得机制。用户找到合适的、正确的出版智库,出版智库获得其具有优势的项目是知识服务活动的理想状态,因此本文提出项目竞标与用户选择相结合的项目获得机制。用户通过平台委托项目后,平台进行项目公示,各出版智库根据自身优势独立或者与其他出版智库强强联合,共同进行项目竞标,由各出版智库专家代表组成的出版大智库联盟委员会负责项目竞标的评选和监督。此外,用户对某个委托过的出版智库或出版智库合作团体的成果非常满意,可以指定出版智库进行项目委托。这一机制不仅可以刺激出版智库知识服务和出版智库间合作的积极性,也能促进出版智库提供更好的知识服务,进而提升自身的影响力。
4.2 政策保障机制
本文构建的出版智库知识服务创新模式,以国家出版智库知识服务平台为载体,集合各出版智库的智库成果等海量知识资源,但开放获取使智库成果容易被人获取后以不法方式传播,甚至存在侵害知识产权所有人的权益的风险。因此,必须加强对出版智库知识资源的知识产权保护,一方面要与国家知识产权保护部门紧密联系,依靠国家政策法律保护自身知识产权,另一方面出版大智库联盟要加大平台安全性建设,通过技术手段降低知识资源被侵权盗用的风险。
4.3 人才保障机制
我国出版智库聘用型人才居多,常驻型人才相对较少,科学合理的人才交流至关重要[8]。一方面,可以借鉴欧美智库人才交流的“旋转门机制”和日本“派出研究员制度”[9],注重完善双向挂职锻炼制度,即党政机关、科研院所、企业与出版智库之间通过挂职和借调等方式互派专家,实现研究者与实践者、学者与官员的转换,真正打开“旋转门”,实现人才有效交流。另一方面,可以建立出版智库高层次会议论坛机制,如:2017年开始举办的中国新闻出版智库高峰论坛,吸引了包括政府机构的领导、出版机构代表、专家学者、企业公司代表、其他相关部门代表等国内外人员的积极参会。[10]简言之,高层次会议可以吸引跨学科、跨领域、跨国别的高精尖人才围绕出版智库重点和热点问题展开讨论和研究,促进人才交流的同时有利于出版智库的人才队伍建设与知识服务能力的提升。
4.4 需求保障机制
满足用户知识需求是出版智库知识服务的根本意义所在,也是出版智库发挥效能、提升影响力的重要途径。[11]本文构建的出版智库知识服务模式,以国家出版智库知识服务平台为中介连接出版智库与用户,在一定程度上大大便捷了出版智库与用户之间的交流与联系。出版智库作为知识服务提供者可以紧密联系用户,采取用户代表参与项目过程的方式,随时与用户保持深入沟通,精准定位用户知识需求,为用户提供个性化定制服务。此外,出版智库在满足用户当前知识需求的前提下还应进一步深入挖掘用户潜在需求,为用户提供二次知识服务,提升出版智库的影响力。
5 结语
科学合理的出版智库知识服务创新模式能够帮助出版智库更好地为用户提供知识服务,推进出版行业更好更快发展。本文通过对出版智库知识服务用户需求调研分析,发现我国出版智库知识服务在出版智库影响力、知识服务内容和方式、出版智库网站平台建设、知识服务满足用户知识需求等方面存在的问题,并有针对性地构建了高度协同共享的出版智库知识服务创新模式,最终从运行机制、人才机制、政策机制、需求机制四方面提出了保障创新模式高效运行的有效机制。但由于笔者个人能力和资源有限,本研究存在一定不足,如:知识服务用户需求调查问卷设计比较主观,样本回收数量有限,创新模式构建缺少理论支撑等。今后应提高用户需求调研的深度和广度,更加精准发现出版智库知识服务领域的问题,并融入更多学科的知识和理论,做到理论与实践有机结合,构建更行之有效的出版智库知识服务创新模式,促进出版行业融合发展。
参考文献
/
| 〈 |
|
〉 |
