PubMed Central引用数据在中文科技期刊平台展示的实现
通讯作者:
关键词:
本文引用格式
阮继, 王玥, 刘谦, 张丽仪.
随着开放存取(open access,OA)运动在各国的兴起,OA出版平台飞速发展,日趋成熟[1]。2000年2月,美国国立医学图书馆(NLM)的国家生物技术信息中心(NCBI)创建了生物医学期刊全文数据库PubMed Central(PMC),作为生物医学信息领域技术与内容的先锋[2],PMC不但对生物医学和生命科学领域的文献进行全文存档,编制索引,提供免费访问,还提供了丰富的开发者资源[3],包括API、各种工具、公共代码库及内容详尽的帮助文档。PMC于2018年7月收录了第一本非英文期刊,开创了我国中文科技期刊进入国际顶级全文数据库的先河。如何借此契机利用PMC平台丰富的信息技术资源更好地展示期刊、为读者和作者服务,是我们亟须探索的问题。
论文引用统计服务是期刊出版平台融合各项信息资源,从单纯的内容提供者向数据服务平台转换过程中的重要实践。本文介绍了利用PMC API实现Medline收录的中文医学期刊自建网站展示PMC引用数据功能的主要方法,借助PMC这个极具影响力的平台,提高期刊网站的服务水平和影响力。
1 期刊出版平台引用统计服务概况
论文引用数据统计已成为越来越多的国内外大型数字出版平台在精准把握和满足用户需求的基础上提供的一项基础服务。Wiley Online Library统计了每篇论文在Crossref库中的引用次数,引文跟踪(citation tracking)工具为用户提供及时的引用提醒;Science Direct全文平台利用Scopus数据库的文章引用统计接口在文章页面显示该文被引次数,并提供施引文献列表链接[6];PLOS ONE也与Scopus、Web of Science、Crossref、PMC、Europe PubMed Central和Google Scholar建立了接口连接,提供每篇文章在上述第三方数据库的引用次数和施引文献信息的链接页面,PLOS ONE还收集了维基百科条目中对该文的引用数据[7]。对于PMC全文数据库收录的论文,如果该文被PMC中的其他文章引用过,则PMC文章页面会显示"This article has been cited by other articles in PMC",并可链接至被引用的页面浏览施引文献列表。
国内的出版平台与期刊社也紧跟国际潮流,如中国精品科技期刊顶尖学术论文平台(F5000)提供了所有论文在万方数据和Web of Science中的被引频次;《中国肺癌杂志》与中华医学会杂志社期刊利用中国科学引文数据库(CSCD)开放的引用服务接口,实现了在期刊网站中实时发布论文引用数据功能[8]。中国知网也提供了其收录论文在中国学术期刊网络出版总库的被引频次统计。
2 PubMed Central开发者资源与引用相关API
PMC提供多种API帮助用户获取PMC收录期刊资源的相关数据[3],下面介绍几种与本文相关的API。
2.1 ID转换[9]
PMC数据库使用pmcid作为唯一标识来记录其收录的每篇文献,用户如需查询论文的被引情况,首先要获取文章的pmcid,再利用pmcid发送查询请求。但期刊网站后台通常不会保存文章的pmcid。目前,国际通用的数字对象唯一标识码是DOI(digital object identifier),因此PMC提供了用于在pmcid/pmid/Manuscript ID/DOI这几种ID之间相互转换工具:ID Converter API,利用该转换工具提供的Web服务,用户可通过论文的DOI获取pmcid。
该API以get方式发送http请求,其中base_URL为:https://www.ncbi.nlm.nih.gov/pmc/utils/idconv/v1.0/("service-root"),参数ids用来指定需要转换的ID。
例如:service-root?tool=my_tool&email=my_email@example.com&ids=10.3779/j.issn.1009-3419.2018.02.01,该请求使用论文的DOI号10.3779/j.issn.1009-3419.2018.02.01查询该文的pmid及pmcid,并返回查询结果(pmid="29526173"和pmcid="PMC5973012")。
2.2 查找论文的施引文献[10]
得到论文的pmid/pmcid后即可查询其在PMC库中被引用的情况,该API同样以get方式发送http请求,base_URL为https://eutils.ncbi.nlm.nih.gov/entrez/eutils/elink.fcgi("service-root"),参数ids用于指定需要查询的文献。有以下3种常用调用方式:
(1)使用文章的pmid获取引用该文的文章的pmcid列表:
service-root?dbfrom=pubmed&linkname=pubmed_pmc_refs&id=21876726
(2)使用文章的pmid获取引用该文的文章的pmid列表:
service-root?dbfrom=pubmed&linkname=pubmed_pubmed_citedin&id=21876726
(3)用文章的pmcid获取引用该文的文章的pmcid列表:
service-root?dbfrom=pubmed&linkname=pmc_pmc_citedby&id=5973012
其返回结果一般为XML格式的id列表,如图1所示。
图1
2.3 获取施引文献详细信息[11]
在掌握了施引文献的pmid/pmcid列表后,可进一步获取每篇施引文献的详细信息。该http请求的base_URL为https://eutils.ncbi.nlm.nih.gov/entrez/eutils/esummary.fcgi("service-root"),常用的两种调用方式如下,retmode参数用于指定返回格式:
(1)用pmcid查文章metadata:service-root?db=pmc&id=3539452&retmode=xml
(2)用pmid查文章metadata:service-root?db=pubmed&id=22368089&retmode=json
查询结果以XML格式返回,包括论文的题目、作者、刊名、年卷期、页码、出版日期等信息。
3 PMC引用数据展示的实现
我国中文医学科技期刊《中国肺癌杂志》与PMC于2017年底开展了PMC平台对非英文期刊全文支持度的测试及技术评估。2018年7月,该刊在PMC平台正式上线,并回溯过刊至2010年[12]。上线一年多以来,《中国肺癌杂志》在PMC平台的月访问量已达到了5万多次,极大增强了中文期刊的国际展示度。作为生物医学期刊,被Medline及PubMed Central收录是对期刊办刊水平及学术质量的一种肯定,因此,分析期刊论文在PMC中的引用情况则有助于我们更加准确地评价所发论文的影响力,明确被国际优秀期刊关注和引用的研究方向。
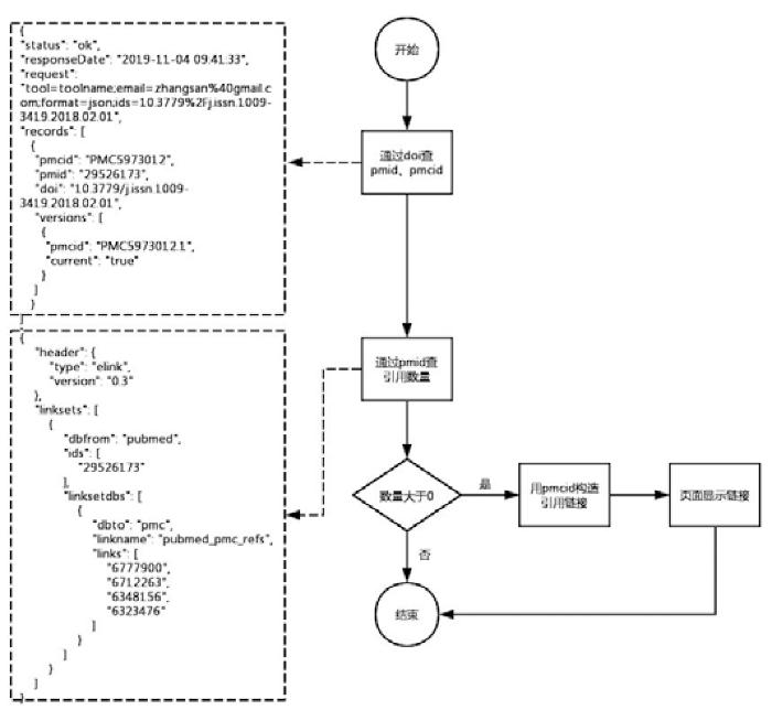
《中国肺癌杂志》曾于2017年与中国科学引文数据库合作,实现了期刊网站展示论文在CSCD库中的引用数据,并为读者提供定制引用提醒服务,使期刊网站在由出版平台向服务平台转换的道路上更进一步。2018年,《中国肺癌杂志》被PMC收录后,为了即时掌握每篇论文在PMC平台被引用的情况,我们及时研究了PMC的引用统计功能,并利用PMC提供的API文档进行了积极尝试,通过编程调用PMC提供的API,实现了期刊网站展示论文在PMC中引用情况的功能。程序处理流程如图2所示。
图2
该程序使用本文第2部分所介绍的3个API按照一定的逻辑顺序向PMC发送查询请求,返回结果通常为XML格式的文本,非常便于后台读取和处理。如果论文被引用,程序会在页面上自动生成一个带有"PMC"标识的图标按钮,点击按钮可跳转到PMC网站浏览具体的施引文献。相较于CSCD,PMC的获取引用功能更加完善,它不需要期刊网站后台定期查询并更新保存在本地的引用数据,所有的引用数据都保存在服务器端,用户打开文章页面时,后台会自动向PMC发送查询请求,并获取即时的引用数据。调用方式简单易行,返回结果清晰明了,程序代码易于维护。
4 结语
随着我国生物医学领域科研水平的日益进步,越来越多的中文期刊走向国际舞台,被Web of Science、Medline等权威检索系统收录。在提高期刊国际展示度的同时,我们还应充分利用这些平台提供的丰富的开发者资源及开放的数据接口,更好地完善期刊平台的服务功能,加快实现从出版平台到数据服务平台的转变。
从2010年6月被Medline收录,2013年4月开始向PubMed提交中文摘要[13],到2018年7月PMC全文收录第一本非英文期刊,《中国肺癌杂志》一直在生物医学领域践行着中国文化"走出去"的理念,在不断完善期刊网站出版功能的同时,也积极尝试推出新的服务模式,如与CSCD合作实现了CSCD引用数据在网站上的展示。本文进一步探索了与国际权威检索平台互连的可能,通过调取PMC提供的API接口,在期刊网站展示PMC引用数据,实现了单刊网站与国际权威数据库的互联与信息共享。在帮助期刊及时获取发表文献数据、掌握最新研究进展的同时,也提高了期刊网站与国际化数据库的融合度,进一步扩大了中文期刊的传播推广力度。我们不仅要向世界展示中华科技文化的发展成果,还要借此契机充分研究利用国际权威平台提供的开放、多样化的服务功能为我所用,让中文医学期刊的国际化之路越走越宽!
参考文献
Developer Resources
[EB/OL]. [
Elsevier developers : API interface specification
[EB/OL]. [
ID Converter API
[EB/OL]. [
Find articles that cite a given article, or that a given article cites
[EB/OL]. [
Get article metadata
[EB/OL]. [
/
| 〈 |
|
〉 |
